További információk
| Kategória | Szortírozó kanál |
|---|
FVE22 Szortírozó kanál
FVE 22
Műszaki adatok
FVE 22-es modell
Tengelyterhelés 2000 kg
Kapacitás 510 liter
Minimális géptonnatartalom 10000 kg
Max gép űrtartalma 12000 kg
Súly 420 kg
Olajfogyasztás 25 Lt
Nyomás 200 BAR
Teherbírás 1000
Fogak 22
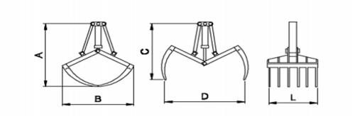
Méretek
A 1450 mm
B 1000 mm
C 1160 mm
D 1500 mm
L 1350 mm

| Kategória | Szortírozó kanál |
|---|